关于开展2025-2026学年第1学期网上评教评学活动的通知
各教学单位:
评教评学是学校教学质量监控的重要举措,为了全面了解教和学的基本情况,促进提升课堂教学质量,根据学校期中教学检查工作安排,现将本学期网上评教与评学活动通知如下:
一、网上评教评学时间
11月17日 9:00--11月21日 17:00。
二、网上评教评学流程
(一)学生网上评教流程
1.登录网址
http://jwxt.gingkoc.edu.cn

2.登录账号及密码初次使用教务管理系统的同学登陆后会强制修改密码,请同学们务必修改个人密码,学生修改密码时,需要使用英文字母、数字和特殊字符进行组合。
若忘记密码,请及时联系本教学单位教学办主任进行密码重置。
3.学生网上评教操作方法
第一步:教学评价-学生评价。

按照以上路径进入界面后学生可看到本学期所有应评价的教师。
第二步:对所选课程逐一根据评价内容选择“非常符合、比较符合、一般符合、基本符合、严重不符”五个选项,学生在评价完一门课程的所有评教指标,点击提交按钮提交成功后,表示完成对该门课程任课老师的评价;同时,学生也可以提交前在留言框中填写对该教师的其他评价,提出自己的意见和建议(限 50 字以内),然后点击保存按钮,保存成功并提交。

4.注意事项
该界面中所有课程的所有任课教师都需要进行评价,评价整体进度信息显示在学生评价的以下位置(一页页面默认显示15条数据,若学生需参加评价数据超过15条,请进行翻页,务必使最终未评数据为 0)。

(二)教师网上评学流程
1.登录网址 http://jwxt.gingkoc.edu.cn

2.登录账号及密码
初次使用教务管理系统的教师登陆后会强制修改密码,请教师们务必修改个人密码,教师修改密码时,需要使用英文字母、数字和特殊字符进行组合。
若忘记密码,请及时联系本教学单位教学秘书进行密码重置。
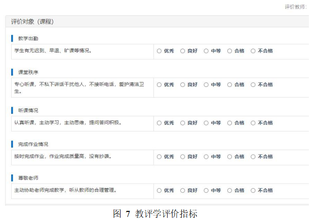
3.教师网上评学操作方法
第一步:教学评价-教师评学。

第二步:对所选教学班逐一根据评价内容选择“优秀、良好、中等、合格、不合格”五个选项,点击页面下方的提交按钮,提交成功后才表示完成对该教学班的评价。

三、相关说明与要求
(一)各教学单位应提高学生对网上评教活动的认识,认真动员和组织、指导学生参与评教活动,客观反映教学情况,杜绝泄私愤、人身攻击等不良现象的发生。
(二)任课教师应积极参与评学,并关注学生评教,主动关注学生在评教中提出的意见和建议,正确对待学生在评教中反映的问题,积极与教研室和本教学单位领导共同探讨整改措施,做到有则改之、无则加勉。
(三)学生应参与所有所学课程网上评教活动,只有参加了网上评教后,方能查询个人的课程成绩信息。
教学科研工作部
2025年10月30日
招生咨询:028-87979220 87979300 87979000
学校网址:http://www.gingkoc.edu.cn/
学校邮箱:yxxy﹫gingkoc.edu.cn
成都校区 地址:成都市郫都区红光街道广场路北二段60号
联系电话:028-87979222
宜宾校区 地址:宜宾市南溪区凤凰大道18号
联系电话:0831-3306222
抖音
视频号
微信公众号